2025-11-29
2025-09-22
2025-08-27
2025-07-22
2025-06-20
2025-05-12
住所: 新北市新店区北新路 3 段 205-3 号 6 階
電話: +886-2-89131997
ファックス: +886-980503633
メール: info@sg.com.tw
住所: 中国鉄塔、M-7 ビル、Majiaoling 工業地帯、ハイテク ゾーン、南山区、深圳、西 3 階
電話: 0755-2697 1006
ファックス: 18002554660
メール: sales@acroview.com
著者: Chongmao Technologyリリース日:2022-08-08視聴者数:3948 p>
芯片烧录行业领导者-昂科技术近日发布最新的烧录软件更新及新增支持的芯片型号列表,其中TI德州仪器的MSP430FR21xx系列微控制器MSP430FR2110的烧录已经被昂科的通用烧录平台AP8000所支持。
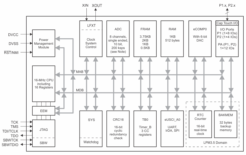
MSP430FR21xx器件是MSP430™微控制器(MCU)超值系列传感产品组合的一部分。这款超低功耗,低成本的MCU系列提供从0.5KB至4KB内存大小的FRAM统一存储器,并具有多种封装选项,包括3mm×3mm的小型VQFN封装。该架构、FRAM和集成外设与多种低功耗模式相结合,针对在便携式和电池供电传感应用中实现延长电池寿命进行了优化。应用中的数字输入D类音频放大器。MSP430FR21xx器件为8位设计提供了一个迁移路径,以从外设集成以及FRAM的数据记录和低功耗优势获得附加特性和功能。此外,使用MSP430G2x 系列MCU可将现有设计迁移到MSP430F21xx系列,以提高性能并利用FRAM的优点。 MSP430FR21xx系列MCU具有功能强大的16位RISC CPU、16位寄存器和一个有助于获得最大编码效率的常数发生器。数字控制振荡器(DCO)通常还可以让器件在不到10µs的时间内从低功耗模式唤醒至激活模式。此MCU的功能集可满足从电器电池组和电池监控到烟雾探测器和健身器材等应用的需求。 MSP超低功耗(ULP) FRAM微控制器平台将独特的嵌入式FRAM和全面的超低功耗系统架构相结合,从而使系统设计人员在低能耗条件下提升性能。FRAM技术将RAM的低能耗快速写入、灵活性和耐用性与闪存的非易失性相结合。 主要特征 • 嵌入式微控制器 – 频率高达16MHz的16位精简指令集计算机(RISC)架构 – 3.6V至1.8V的宽电源电压范围(最低电源电压受限于SVS电平) • 经优化的低功耗模式(3V) – 工作模式:120µA/MHz – 待机 - LPM3.5(具有VLO):1µA - 实时时钟(RTC)计数器(LPM3.5,采用32768Hz晶振):1µA – 关断模式(LPM4.5):34nA,无SVS • 高性能模拟 – 8通道10位模数转换器(ADC) - 集成温度传感器 - 1.5V的内部基准电压 - 采样与保持200ksps – 增强型比较器(eCOMP) - 集成6位DAC作为基准电压 - 可编程迟滞 - 可配置的高功率和低功率模式 • 低功耗铁电RAM (FRAM) – 非易失性存储器容量高达3.75KB – 内置错误修正码(ECC) – 可配置的写保护 – 对程序、常量和存储的统一存储 – 耐写次数达1015次 – 抗辐射和非磁性 • 智能数字外设 – 具有三个捕捉/比较寄存器的16位计时器(Timer_B3) – 一个仅用作计数器的16位RTC计数器 – 16位循环冗余校验器(CRC) • 增强型串行通信 – 增强型USCI A(eUSCI_A)支UART、IrDA和SPI • 时钟系统(CS) – 片上32kHz RC振荡器(REFO) – 带有锁频环(FLL)的片上16MHz数控振荡器(DCO) - 室温下的精度为±1%(具有片上基准) – 片上超低频10kHz振荡器(VLO) – 片上高频调制振荡器(MODOSC) – 外部32kHz晶振(LFXT) – 可编程MCLK预分频器(1至128) – 通过可编程预分频器(1、2、4或8)从MCLK获得的SMCLK • 通用输入/输出和引脚功能 – 16引脚封装有12个I/O – 8个中断引脚(4个P1引脚和4个P2引脚)可将MCU从LPM唤醒 – 所有I/O均为电容式触控I/O 应用 • 电器电池组 • 烟雾和热量探测器 • 门窗传感器 • 照明传感器 • 电源监控 • 个人护理电子装置 • 便携式保健和健身设备 整体框图 昂科技术自主研发的AP8000万用型烧录器包含主机,底板,适配座三大部分。 主机支持USB和NET连接,允许将多台编程器进行组网,达到同时控制多台编程器同时烧录的目的。内置芯片安全保障电路保证即使芯片放反或其他原因造成的短路可以被立即检测到并进行断电处理,以保障芯片和编程器安全。内嵌高速FPGA,极大地加速数据传输和处理。主机背部有SD卡槽,将PC软件制作得到的工程文件放到SD卡的根目录下并插入到该卡槽内,通过编程器上的按键可进行工程文件的选择,加载,执行烧录等命令,以达到脱离PC便可操作的目的,极大的降低了PC硬件配置成本,方便迅速地搭配工作环境。 AP8000通过底板加适配板的方式,让主机扩展性更强,目前已经支持了所有主流半导体厂家生产的器件,包括TI, ST, MicroChip, Atmel, Hynix, Macronix, Micron, Samsung, Toshiba等。支持的器件类型有NAND, NOR, MCU, CPLD, FPGA, EMMC等,支持包括Intel Hex, Motorola S, Binary, POF等文件格式。 公司介绍 关于德州仪器:德州仪器(Texas Instruments,简称:TI),是世界上较大的模拟电路技术部件制造商,全球知名的半导体跨国公司,以开发、制造、销售半导体和计算机技术闻名于世,主要从事创新型数字信号处理与模拟电路方面的研究、制造和销售。除半导体业务外,还提供包括传感与控制、教育产品和数字光源处理解决方案。德州仪器总部位于美国德克萨斯州的达拉斯,并在25多个国家设有制造、设计或销售机构。德州仪器是世界第一大数字信号处理器(DSP)和模拟电路元件制造商,其模拟和数字信号处理技术在全球具有统治地位。 关于昂科技术:昂科技术(ACROVIEW)是全球领先的半导体芯片烧录解决方案提供商,公司坚持以科技改变世界、用智能驱动未来,持续不断的为客户创造价值。昂科的AP8000通用烧录器平台及最新的IPS5000烧录自动化解决方案,为半导体和电子制造领域客户提供一站式解决方案,公司已服务包括、比亚迪、富士康等全球领先客户。


深圳本社:
深セン市南山区ハイテク ゾーン主要工業区 M-7 ビル Sinosteel ビル西 3 階
電話: 0755-2697 1006
移動: 18002554660
電子メール: sales@acroview.com
台湾事務所:
System General
住所:新北市新店区北新路三段205-3号6階
電話:886-2-89131997
ファックス: +886-980503633
販売メールアドレス: info@sg.com.tw
Copyright ©2019-2022 Core Micro Semiconductor (Suzhou) Co., Ltd.沪ICP备2022015186号-1
