2025-11-29
2025-09-22
2025-08-27
2025-07-22
2025-06-20
2025-05-12
住所: 新北市新店区北新路 3 段 205-3 号 6 階
電話: +886-2-89131997
ファックス: +886-980503633
メール: info@sg.com.tw
住所: 中国鉄塔、M-7 ビル、Majiaoling 工業地帯、ハイテク ゾーン、南山区、深圳、西 3 階
電話: 0755-2697 1006
ファックス: 18002554660
メール: sales@acroview.com
著者: Chongmao Technologyリリース日:2022-04-27視聴者数:4926 p>
芯片烧录行业领导者-昂科技术近日发布最新的烧录软件更新及新增支持的芯片型号列表,其中Renesas的一款嵌入式处理器RL78系列的R5F100LF已经被昂科的通用烧录平台AP8000所支持。
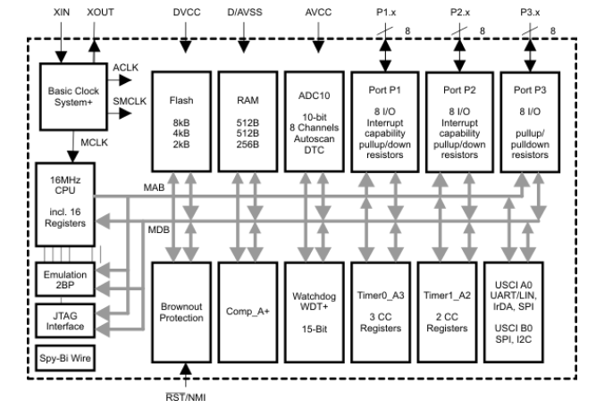
MSP430F2132*RHB系列是一款超低功耗微控制器,内置两个16位定时器,一个带有集成基准的快速10位A / D转换器和一个数据传输控制器(DTC),一个比较器,内置通信功能使用通用串行通信接口,最多24个I / O引脚。

产品特性:
l 低电源电压范围:1.8 V至3.6 V.
l 超低功耗
l 有源模式:1 MHz时为250μA,2.2 V
l 待机模式:0.7μA
l 关闭模式(RAM保持):0.1μA
l 待机模式下的超快速唤醒时间小于1μs
l 16位RISC架构,62.5 ns指令周期时间
l 基本时钟模块配置
l 内部频率高达16 MHz,四个校准频率为±1%
l 内部超低功耗低频振荡器
l 32kHz晶体
l 高达16 MHz的高频(HF)晶体
l 谐振器
l 外部数字时钟源
l 外部电阻
l 16位Timer0_A3,带有三个捕捉/比较寄存器
l 16位Timer1_A2,带有两个捕捉/比较寄存器
l 用于模拟信号比较功能或斜率模数(A / D)转换的片上比较器
l 具有内部基准,采样保持,自动扫描和数据传输控制器的10位200 ksps A / D转换器
l 通用串行通信接口
l 增强型UART支持自动波特率检测(LIN)
l IrDA编码器和解码器
l 同步SPI
l I2C™
l 掉电探测器
l 串行板载编程,无需外部编程电压,安全保险丝可编程代码保护

图1:产品框图

图2:内部框图
Renesas R5F100LF*FB位微控制器具有超低功耗、增强性能、高集成度和各种强大的外设功能。得益于以上特性,R5F100LF*FB非常适合用于各种应用,包括电池供电设备和家用应用。
Renesas R5F100LF*FB微控制器MCU系列包括通用和专用器件。这些MCU可为系统设计人员提供高级省电特性和高性能操作,从而实现超低功耗应用。该器件提供1KB到512KB的片上闪存,有30多种封装选项(10引脚到128引脚)可供选择。这些低功耗MCU解决方案非常适合用于全球消费类、工业和汽车市场中的各种低功耗和电池供电产品及系统。
Renesas R5F100LF*FB微控制器平衡了业界最低水平的消耗电流(CPU:66 μA/MHz,待机 (STOP):230 nA)和 43.2 DMIPS (32 MHz) 的高性能。它们具有片上振荡器、数据闪存、A/D 转换器等。内置安全功能(检测硬件非法操作的功能)支持家用电器安全标准(IEC/UL 60730)。这些微控制器可用于从家用和消费电器到工业设备的各种应用。
昂科技术自主研发的AP8000万用型烧录器包含主机,底板,适配座三大部分。
主机支持USB和NET连接,允许将多台编程器进行组网,达到同时控制多台编程器同时烧录的目的。内置芯片安全保障电路保证即使芯片放反或其他原因造成的短路可以被立即检测到并进行断电处理,以保障芯片和编程器安全。内嵌高速FPGA,极大地加速数据传输和处理。主机背部有SD卡槽,将PC软件制作得到的工程文件放到SD卡的根目录下并插入到该卡槽内,通过烧录器编程器上的按键可进行工程文件的选择,加载,执行烧录等命令,以达到脱离PC便可操作的目的,极大的降低了PC硬件配置成本,方便迅速地搭配工作环境。
AP8000通过底板加适配板的方式,让主机扩展性更强,目前已经支持了所有主流半导体厂家生产的器件,包括TI, ST, MicroChip, Atmel, Hynix , Macronix, Micron, Samsung ,Toshiba等。支持的器件类型有NAND,NOR,MCU,CPLD,FPGA,EMMC等,支持包括Intel Hex,Motorola S, Binary, POF等文件格式。
关于德州仪器:德州仪器(英语:Texas Instruments,简称:TI),是世界上较大的模拟电路技术部件制造商,全球知名的半导体跨国公司,以开发、制造、销售半导体和计算机技术闻名于世,主要从事创新型数字信号处理与模拟电路方面的研究、制造和销售。除半导体业务外,还提供包括传感与控制、教育产品和数字光源处理解决方案。德州仪器(TI)总部位于美国德克萨斯州的达拉斯,并在25多个国家设有制造、设计或销售机构。德州仪器是世界第一大数字信号处理器(DSP)和模拟电路元件制造商,其模拟和数字信号处理技术在全球具有统治地位。
关于昂科技术:
昂科技术(ACROVIEW)是全球领先的半导体芯片烧录解决方案提供商,公司坚持以科技改变世界、用智能驱动未来,持续不断的为客户创造价值。昂科的AP8000通用烧录器平台及最新的IPS5000烧录自动化解决方案,为半导体和电子制造领域客户提供一站式解决方案,公司已服务包括、比亚迪、富士康等全球领先客户。
深圳本社:
深セン市南山区ハイテク ゾーン主要工業区 M-7 ビル Sinosteel ビル西 3 階
電話: 0755-2697 1006
移動: 18002554660
電子メール: sales@acroview.com
台湾事務所:
System General
住所:新北市新店区北新路三段205-3号6階
電話:886-2-89131997
ファックス: +886-980503633
販売メールアドレス: info@sg.com.tw
Copyright ©2019-2022 Core Micro Semiconductor (Suzhou) Co., Ltd.沪ICP备2022015186号-1
