2025-11-29
2025-09-22
2025-08-27
2025-07-22
2025-06-20
2025-05-12
住所: 新北市新店区北新路 3 段 205-3 号 6 階
電話: +886-2-89131997
ファックス: +886-980503633
メール: info@sg.com.tw
住所: 中国鉄塔、M-7 ビル、Majiaoling 工業地帯、ハイテク ゾーン、南山区、深圳、西 3 階
電話: 0755-2697 1006
ファックス: 18002554660
メール: sales@acroview.com
著者: Chongmao Technologyリリース日:2022-05-09視聴者数:4464 p>
芯片烧录行业领导者-昂科技术近日发布最新的烧录软件更新及新增支持的芯片型号列表,其中MEGAWIN的MA84G564系列单芯片微处理器MA84G564AC64的烧录已经被昂科的通用烧录平台AP8000所支持。
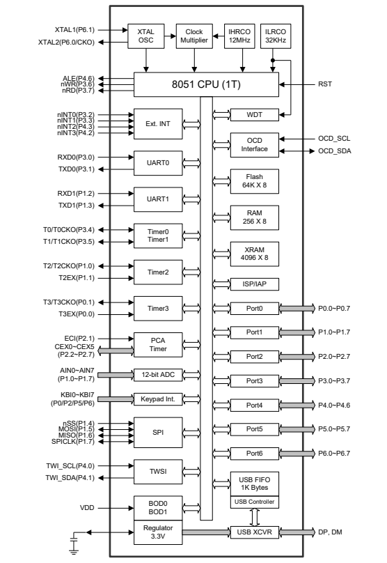
MA84G564是基于80C51的高效1-T结构的单芯片微处理器,每条指令需要1~7时钟信号 (比标准的8051快6~7倍), 与标准8051指令集兼容。因此在与标准8051有同样的处理能力的情况下,MA84G564只需要非常低的运行速度,同时由此能很大程度的减少耗电量。
MA84G564有64K字节的内置Flash存储器用于保存代码和数据。Flash存储器可以通过串行模式编程(ICP, 在电路编程) 或者ISP模式 (在系统编程USB DFU) 进行编程的能力。同时,也提供在应用编程(IAP)的能力。ISP和ICP让使用者无需从产品中取下微控制器就可以下载新的代码;IAP意味着应用程序正在运行时,微控制器能够在Flash中写入非易失数据。这些功能都由内建的电荷泵提供编程用的高压。
MA84G564除了80C52 MCU的标准功能(例如256字节的随机存储器,四个8位I/O口,二个带有高/低触发选项的外部中断,一个多源4级中断控制,一个串口(UART0)和三个定时/计数器)外,MA84G564有一个全速USB设备功能,三个额外的I/O ports (P4[6:0], P5, P6),4096字节外部数据存储器(XRAM),两个额外的带高/低触发选项的外部中断,12位ADC,一个6通道PCA,SPI,TWSI,第二串口(UART1),键盘中断,一次性使能的看门狗定时器,4个16位定时器,两个低电压检测器,一个晶振(与P6.0和P6.1共用),一个高精度的适应全速USB应用的内部振荡,一个低速的内部RC振荡器(ILRCO)和一个多功能的增型的串口(UART0)和一个低速增强设备(X2/X4 模式)。
MA84G564有多种工作模式可以减少耗电量:空闲模式,掉电模式,慢频模式,副频模式,watch模式和monitor模式。在空闲模式下,CPU被冻结而外围模块和中断系统依然活动。在掉电模式下,随机存储器RAM和特殊功能寄存器SFR的值被保存,而其他所有功能被终止。最重要的是,在掉电模式下的微控制器可以被多种中断或复位唤醒。在慢频模式,使用者可以通过8位的系统时钟分频器减慢系统速度以减少耗电量。选择副频模式系统时钟来自内部低速振荡器CPU用一个特别慢的速度在运行。watch模式, 在掉电模式或空闲模式下保持WDT正常运行来唤醒CPU。Monitor模式,在掉电模式检测电压,当电压特别低的时候会复位。
另外,MA84G564 装配有笙泉独家的(OCD)接口可以用于在线仿真(ICE),OCD接口提供在片内和在系统不干扰调试并且不占用任何资源。支持ICE应用中的几个必须的操作例如:复位、全速、停止、单步、全速到光标和断点设置。软件开发期间使用者不需要使用任何的开发板或者传统的ICE上应用的插头转接器,使用者只需要连接好OCD接口, 这强有力的接口使得开发非常容易。
产品主要特征:
• 高速1-T结构80C51内核
• MA84G564 64K字节flash程序存储器空间
- ISP空间可以选择为1KB/1.5KB~4KB
- 灵活的IAP大小空间设置
- 密码保护程序区访问
- Flash写/擦次数:10,000
- Flash数据保留时间:100年25℃
- MA84G564出厂默认空间设置
▪ AP程序空间(60KB, 0000h~EFFFh)
▪ IAP数据空间(1.5KB,F000h~F5FFh)
▪ USB更新引导码空间(2.5KB,F600h~FFFFh)(保留 USB 在线烧录用,用户程序无法更动)
• 数据存储器
- 内部256字节数据存储器
- 外部4096字节扩展数据存储器(XRAM)
- 多达5120字节扩展数据存储器(XRAM)与 USB 缓冲器公用。
• 两个数据指针
• 可变长度的 MOVX 可以访问慢的 SRAM/外设
• 中断控制
- 17中断源, 4个优先级
- 四个外部中断,nINT0,nINT1,nINT2和nINT3
- 所有的外部中断支持高/低或上升/下降沿触发
• 四个16-位 定时/计数,Timer0,Timer1,Timer2和Timer3
- T0CKO在P34,T1CKO在P35,T2CKO在P10和T3CKO在P01
- T0/T1/T2/T3可以选择 X12 模式
• 有6个比较/俘获单元的可编程16位定时/计数阵列
- 俘获模式
- 16位软件定时模式
- 高速输出模式
- 8/10/12/16-位带周相移动功能的PWM(脉宽调节器)模式
• 键盘中断(P0/P2/P5/P6)
• 12-位ADC
- 可程控的最大250ksps
- 最多可到8通道单一输入或者4个通道差分输入
• 增强型UART(S0)
- 帧误差侦测
- 自动地址识别
- 速度增强机制(X2/X4模式)
• 第二个UART(S1)
- 专用于波特率产生器
- S1与S0共享波特率产生器
• 主/从SPI串口接口
• 主/从两线 t 串口接口(TWSI)
• USB 设备控制器
- 内建全速(12Mbps) USB收发器,遵循USB2.0规则
- Intel8X931类似的USB控制流程
- 内建USB收发器和3.3V稳压器
- 6个部分控制/中断/适时/块输入/输出事务的灵活终端
- 1K字节FIFO USB终端缓冲区
- 软件控制USB连接/断开机制
• 可程序控制的看门狗时间
- 通过CPU或上电复位一次性使能
- 时钟源来自内部低频振荡器
- 看门狗溢出会中断或复位CPU
- 支持Watch模式
• 在片内调试接口(OCD)
• 最大55普通I/O口在LQFP64封装
- P3可以设置准双向口模式,推挽输出模式,开漏集输出模式,仅输入模式。
- P0, P1, P2, P4, P5和 P6可以设置为推挽输出模式,开漏集输出模式。
- P6.0和P6.1公用XTAL2和XTAL1
• 多种省电模式:掉电模式,空闲模式,慢频模式,副频模式,watch模式和monitor模式。
- 所有的中断能唤醒空闲模式。
- 12中源能唤醒掉电模式。
- 慢频模式和副频模式支持低速MCU运转
- Watch模式在掉电模式下能复位CPU
- Monitor模式在掉电模式下支持BOD1复位CPU
• 低电压检测
- BOD0: 检测 2.2V
- BOD1: 选择检测电压为:4.2V/3.7V/2.4V/2.0V
- 中断CPU或复位CPU
- 在掉电模式下唤醒CPU
• 工作电压范围:2.0V–5.5V
- flash写电压最低2.2V(ISP/IAP/ICP)
• 工作频率范围:36MHz(max)
- 外部晶振模式,2–12MHz@2.0V–5.5V和2–25MHz@2.7V–5.5V..
- CPU可以到达12MHz@2.0V–5.5V, 到达25MHz@2.4V–5.5V和可以到达36MHz@2.2V–5.5V
• 时针源
- 内部12MHz振荡器(IHRCO) :工厂条件下测误差±1,典型值
- 外部晶振模式
- 内部低频RC振荡器(ILRCO):大约32KHz
- 外部时针输入(ECKI) 在 XTAL2/P6.0
- 内部振荡输出 XTAL2/P6.0
- 内建时钟倍频器(CKM)用来提供高速时钟源
• 工作温度
- 工业级(-40℃to+85℃)*
• 封装类型
- LQFP64(10mm x 10mm): MA84G564AC64
整体框图
昂科技术自主研发的AP8000万用型烧录器包含主机,底板,适配座三大部分。

主机支持USB和NET连接,允许将多台编程器进行组网,达到同时控制多台编程器同时烧录的目的。内置芯片安全保障电路保证即使芯片放反或其他原因造成的短路可以被立即检测到并进行断电处理,以保障芯片和编程器安全。内嵌高速FPGA,极大地加速数据传输和处理。主机背部有SD卡槽,将PC软件制作得到的工程文件放到SD卡的根目录下并插入到该卡槽内,通过编程器上的按键可进行工程文件的选择,加载,执行烧录等命令,以达到脱离PC便可操作的目的,极大的降低了PC硬件配置成本,方便迅速地搭配工作环境。
AP8000通过底板加适配板的方式,让主机扩展性更强,目前已经支持了所有主流半导体厂家生产的器件,包括TI, ST, MicroChip, Atmel, Hynix , Macronix, Micron, Samsung ,Toshiba等。支持的器件类型有NAND,NOR,MCU,CPLD,FPGA,EMMC等,支持包括Intel Hex,Motorola S, Binary, POF等文件格式。
关于笙泉科技:笙泉科技(MEGAWIN),笙泉科技成立于1999年,座落于新竹县竹北市台元科技园区,专司微控制器的设计与销售。是由一群含括积体电路开发、销售所需专业人才的组合。通过持续不断的研发与改善,以及专利技术建置布局,矢志成为世界级的MCU供应商。
关于昂科技术:昂科技术(ACROVIEW)是全球领先的半导体芯片烧录解决方案提供商,公司坚持以科技改变世界、用智能驱动未来,持续不断的为客户创造价值。昂科的AP8000通用烧录器(IC自动烧写器)平台及最新的IPS5000烧录自动化解决方案,为半导体和电子制造领域客户提供一站式解决方案,公司已服务包括、比亚迪、富士康等全球领先客户。
深圳本社:
深セン市南山区ハイテク ゾーン主要工業区 M-7 ビル Sinosteel ビル西 3 階
電話: 0755-2697 1006
移動: 18002554660
電子メール: sales@acroview.com
台湾事務所:
System General
住所:新北市新店区北新路三段205-3号6階
電話:886-2-89131997
ファックス: +886-980503633
販売メールアドレス: info@sg.com.tw
Copyright ©2019-2022 Core Micro Semiconductor (Suzhou) Co., Ltd.沪ICP备2022015186号-1
